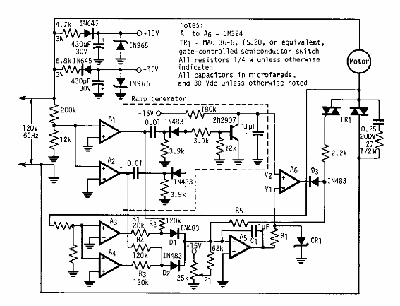
Sugerido por una Electronic Engineering, este circuito utiliza componentes de la época. Se pueden usar componentes equivalentes modernos de acuerdo con la corriente del motor.

Controlador de factor de potencia trifásico
Sugerido por una Electronic Engineering, este circuito utiliza componentes de la época. Se pueden usar componentes equivalentes modernos de acuerdo con la corriente del motor.
