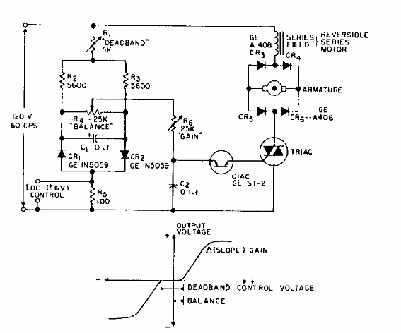
Sugerido por General Electric, este circuito con triac puede invertir la rotación de un motor a través de una señal de control de CC. El circuito se aplica a los servos de CA.

Motor de corriente alterna con inversión
Sugerido por General Electric, este circuito con triac puede invertir la rotación de un motor a través de una señal de control de CC. El circuito se aplica a los servos de CA.
