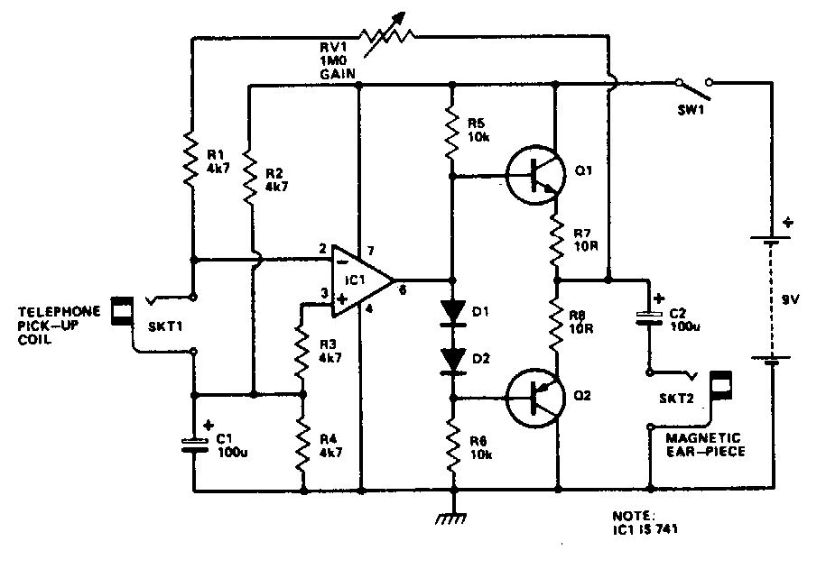
Encontrado en una publicación antigua en inglés y en otras partes de este sitio web en diferentes versiones, este circuito captura el ronquido de la red eléctrica o una señal de audio aplicada a un cable para permitir que se localice en una pared o piso.




