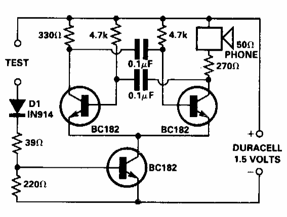
Sugerido por una Ingeniería Electrónica de los años 90, este circuito sirve para probar la continuidad de las pistas en las placas de circuito impreso. El circuito está alimentado por una sola batería.

Prueba de continuidad para placas
Sugerido por una Ingeniería Electrónica de los años 90, este circuito sirve para probar la continuidad de las pistas en las placas de circuito impreso. El circuito está alimentado por una sola batería.
