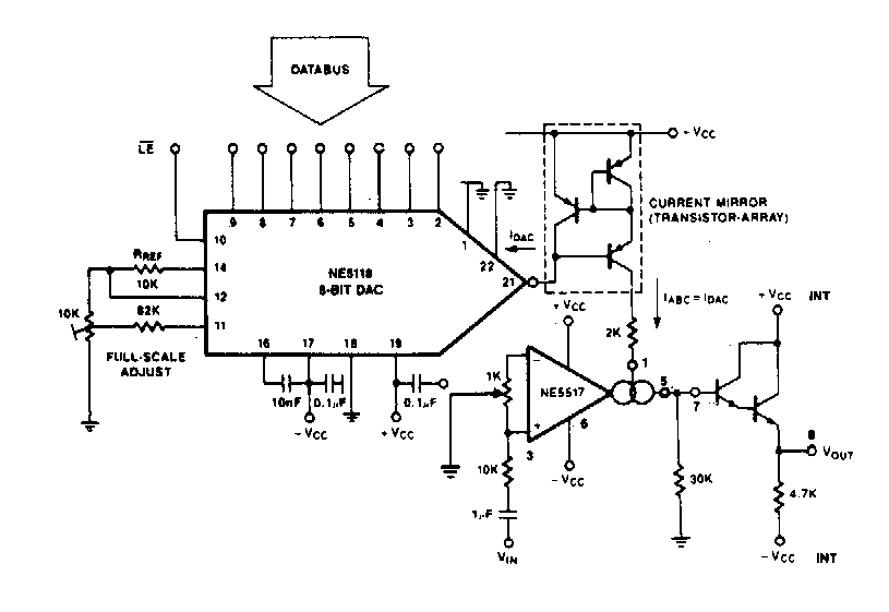
Este amplificador de ganancia programada digitalmente se obtuvo de una documentación de Signetics de la década de 1980. El circuito puede servir como base para un proyecto con un convertidor D / A moderno, que funciona como un shield.

 

Amplificador programado
Amplificador programado | Haga click en la imagen para ampliar |