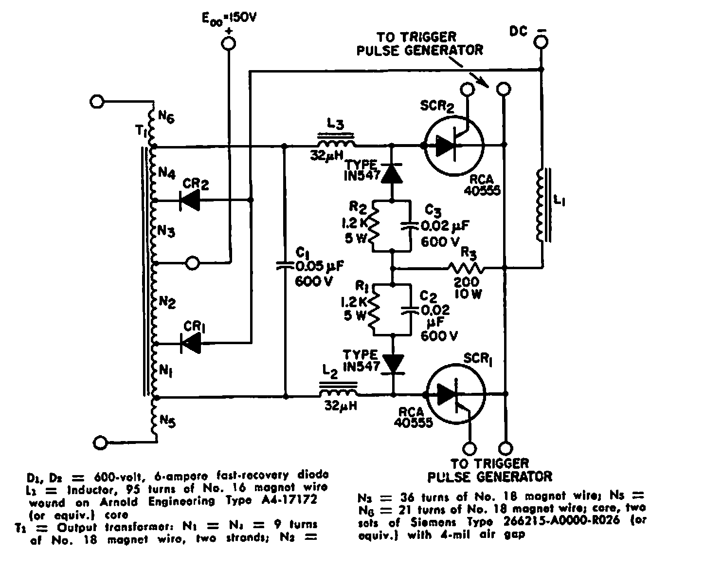
Sugerido por un antiguo manual de RCA, este circuito utiliza componentes de época. Los datos para el transformador se proporcionan en la documentación original de la década de 1960.

 

Inversor de 500 W en push pull
Inversor de 500 W en push pull | Haga click en la imagen para ampliar |