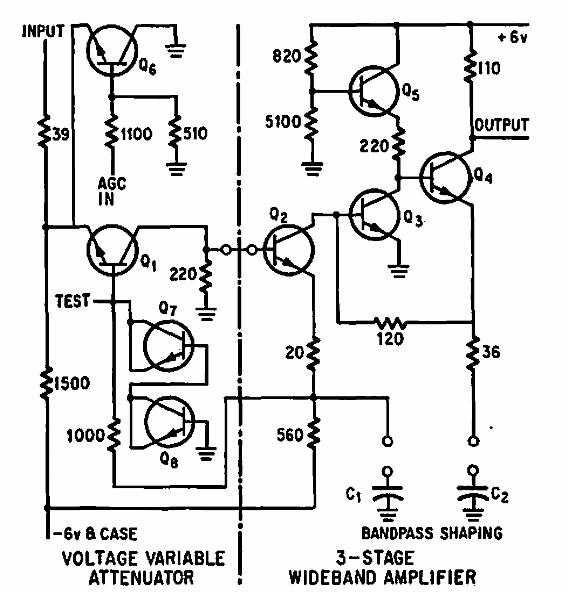
Este circuito con el PA7601 se encontró en una documentación de Philco-Ford de 1967. El circuito tiene una banda de paso de 45 a 120 MHz.

Amplificador PA7601
Este circuito con el PA7601 se encontró en una documentación de Philco-Ford de 1967. El circuito tiene una banda de paso de 45 a 120 MHz.
