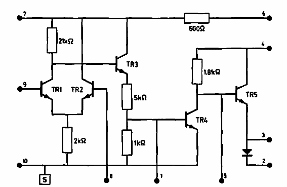
Este controlador para señales de audio que utiliza el circuito integrado TAA435 se encontró en la documentación de Philips 1968. El circuito integrado es difícil de obtener hoy en día.

Driver TAA435
Este controlador para señales de audio que utiliza el circuito integrado TAA435 se encontró en la documentación de Philips 1968. El circuito integrado es difícil de obtener hoy en día.
