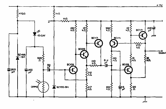
Para mediciones entre 30 y 40º C, este circuito se encontró en la documentación de 1968. El sensor es un componente difícil de obtener hoy en día.

Termómetro clínico
Para mediciones entre 30 y 40º C, este circuito se encontró en la documentación de 1968. El sensor es un componente difícil de obtener hoy en día.
