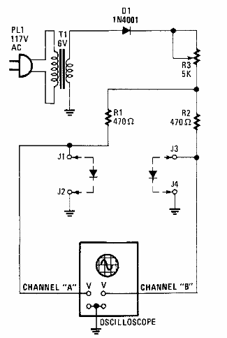
Encontrado en una electrónica popular de los años 90, este circuito está destinado a hacer posible visualizar la curva característica de un diodo en un osciloscopio común.

Plotter de curvas de diodos
Encontrado en una electrónica popular de los años 90, este circuito está destinado a hacer posible visualizar la curva característica de un diodo en un osciloscopio común.
