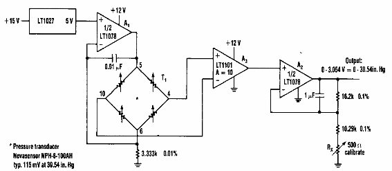
Encontrado en una Electronic Design de los años 90, este circuito utiliza componentes contemporáneos, incluido el sensor de presión. Se pueden usar componentes equivalentes modernos en un nuevo proyecto.

Barómetro
Encontrado en una Electronic Design de los años 90, este circuito utiliza componentes contemporáneos, incluido el sensor de presión. Se pueden usar componentes equivalentes modernos en un nuevo proyecto.
