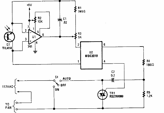
Este circuito se obtuvo en una Popular Electronics de los años 90. Contra una campana de cocina basada en la emisión de calor por la estufa. El circuito usa componentes comunes. U2 es el disparador diac de tipo óptico.

Campana extractora automática
Este circuito se obtuvo en una Popular Electronics de los años 90. Contra una campana de cocina basada en la emisión de calor por la estufa. El circuito usa componentes comunes. U2 es el disparador diac de tipo óptico.
