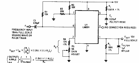
Encontrado en Popular Electronics desde los años 90, este circuito puede usarse en tacómetros. El circuito integrado no es un componente común en la actualidad.

Convertidor de frecuencia a tensión
Encontrado en Popular Electronics desde los años 90, este circuito puede usarse en tacómetros. El circuito integrado no es un componente común en la actualidad.
