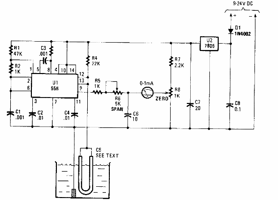
Este interesante sensor capacitivo de nivel de agua se encontró en una Popular Electronics. El circuito se puede usar como shield. El sensor consiste en un tubo de vidrio u otro material impermeable o incluso un cable con tapa que tiene un conductor dentro. Por lo tanto, el conductor y el agua forman las placas de un capacitor cuya capacidad cambia con el nivel del agua.




