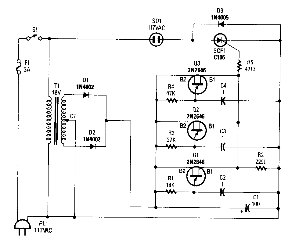
Este circuito hace que una lámpara incandescente parpadee para variar su brillo con un efecto de vela. El circuito es de una Popular Electronics, pero los componentes utilizados son actuales.
Este circuito fue obtenido en una revista Radio Electronics americana de abril de 1980. La revista ya...
He encontrado este circuito en un artículo de la revista Electronics Today International de julio...
El circuito presentado consiste en un interruptor de tacto biestable hecho en torno a transistores de...