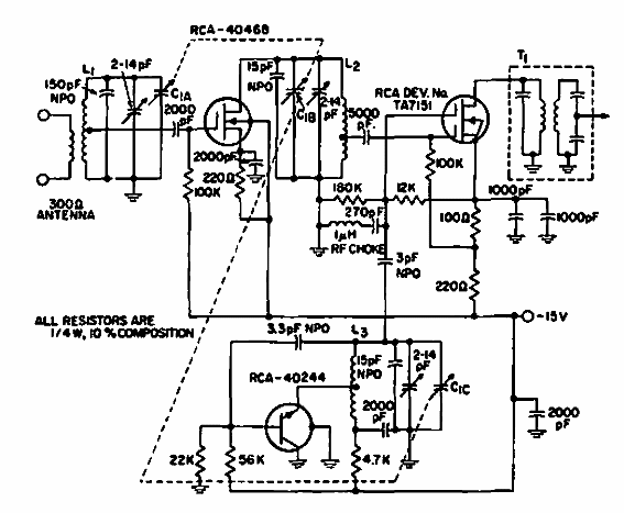
Este circuito sirve como referencia para los componentes utilizados y la época. El circuito es de documentación RCA de 1967. Se utilizan MOSFET de esa época.

Sintonizador con MOSFET
Este circuito sirve como referencia para los componentes utilizados y la época. El circuito es de documentación RCA de 1967. Se utilizan MOSFET de esa época.
