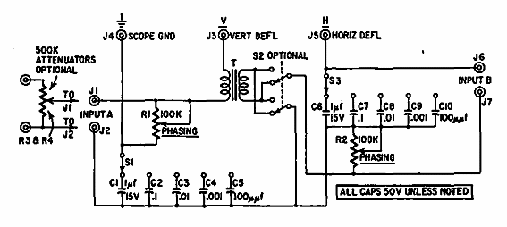
El propósito de este circuito de una Radio Electronics de 1965 y observar formas de onda cicloides en un osciloscopio común. El rango de frecuencia depende de la configuración de las llavesr.

Adaptador cicloide
El propósito de este circuito de una Radio Electronics de 1965 y observar formas de onda cicloides en un osciloscopio común. El rango de frecuencia depende de la configuración de las llavesr.
