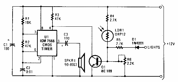
Este circuito emite un sonido de advertencia cuando cae la noche. El circuito es de una Hands On de los años 90. El sensor es un LDR común y R6 ajusta el punto de activación.

Luz de noche
Este circuito emite un sonido de advertencia cuando cae la noche. El circuito es de una Hands On de los años 90. El sensor es un LDR común y R6 ajusta el punto de activación.
