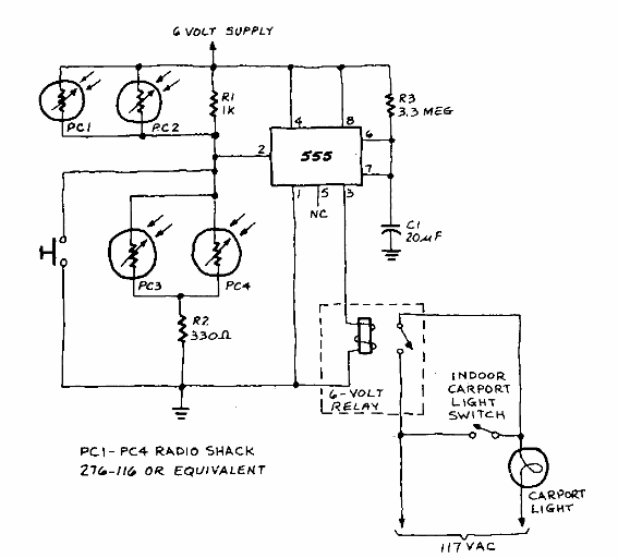
Encontrado en Radio Electronics, este circuito está destinado a activar el sistema de iluminación de garajes accionados por los faros del automóvil.

Control automático de lámpara
Encontrado en Radio Electronics, este circuito está destinado a activar el sistema de iluminación de garajes accionados por los faros del automóvil.
