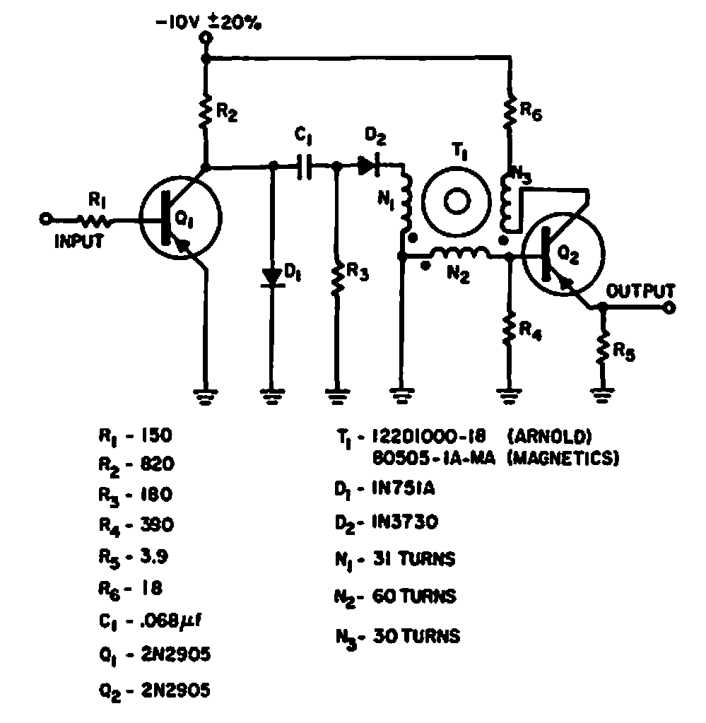
En este circuito de una Electronic Design electrónico de 1964, la división de frecuencia de la señal se realiza de acuerdo con el valor de C1 o el número de vueltas N1 del toroide. El circuito puede diseñarse en base a componentes modernos.

 

Divisor 1 a 10
Divisor 1 a 10 | Haga click en la imagen para ampliar |