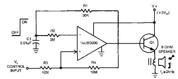
Encontrado en una EDN de los 90, este circuito puede usarse como un escudo. El transistor es para uso general y la frecuencia del sonido emitido está determinada por R1 / C1.

Anunciador
Encontrado en una EDN de los 90, este circuito puede usarse como un escudo. El transistor es para uso general y la frecuencia del sonido emitido está determinada por R1 / C1.
