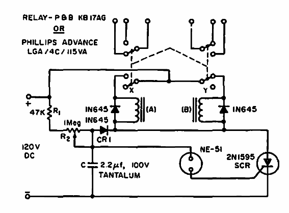
Este circuito fue encontrado en una Electronic Design. Utiliza un oscilador de relajación para activar un SCR y dos relés. El circuito opera a frecuencias de 12 a 180 ciclos por minuto.

Flip Flop de potencia
Este circuito fue encontrado en una Electronic Design. Utiliza un oscilador de relajación para activar un SCR y dos relés. El circuito opera a frecuencias de 12 a 180 ciclos por minuto.
