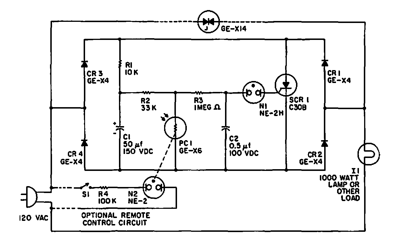
Sugerido por General Electric en la documentación de 1965, este intermitente tiene un circuito de control con un acoplador óptico de luz de neón y LDR. El circuito es para lámparas incandescentes.

 

Luz intermitente controlada de 1 kW
Luz intermitente controlada de 1 kW | Haga click en la imagen para ampliar |