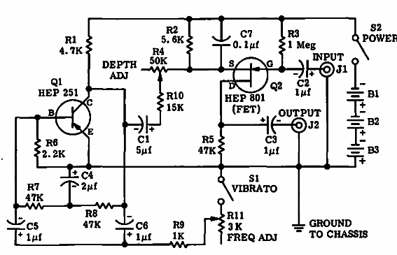
Este circuito de vibrato se encontró en la documentación de Motorola de 1966. El circuito utiliza transistores de la época que pueden reemplazarse por los tipos comunes actuales. La alimentación se realiza con 3 baterías de 9V.

Vibrato
Este circuito de vibrato se encontró en la documentación de Motorola de 1966. El circuito utiliza transistores de la época que pueden reemplazarse por los tipos comunes actuales. La alimentación se realiza con 3 baterías de 9V.
