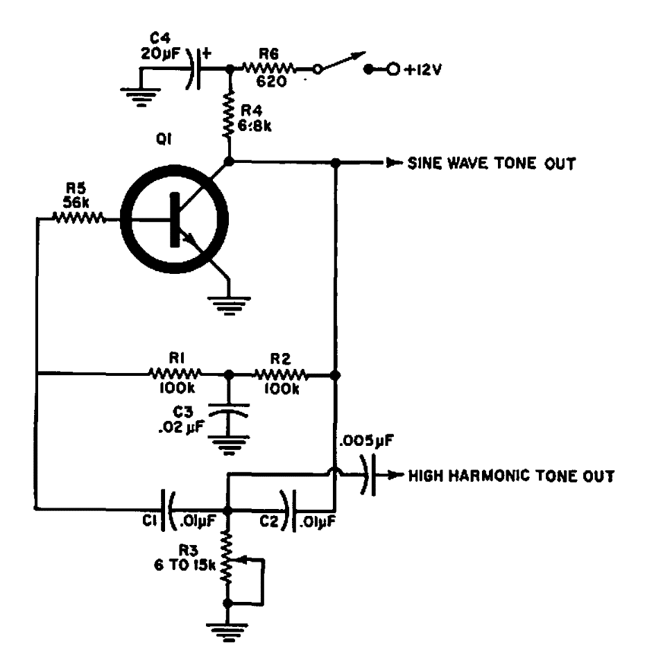
Este circuito se encontró en un mundo de electrónica de 1968. El transistor puede ser cualquier propósito general y la doble T debe configurarse en R3 para obtener el efecto deseado.
La simple luz de tiempo tiene muchas de otras Aplicaciones. Cuando se toca en S1, un interruptor de la...
Un reóstato es un dispositivo que permite controlar la intensidad de la corriente que circula en...
El circuito que se muestra a continuación muestra una aplicación lineal del FET de potencia, donde...