Encontramos este circuito en una Popular Electronics de los años 80. El circuito se puede usar para manejar cargas conectadas más grandes en lugar del zumbador BZ1. La alimentación depende de la carga.

Alarma paralela multi loop
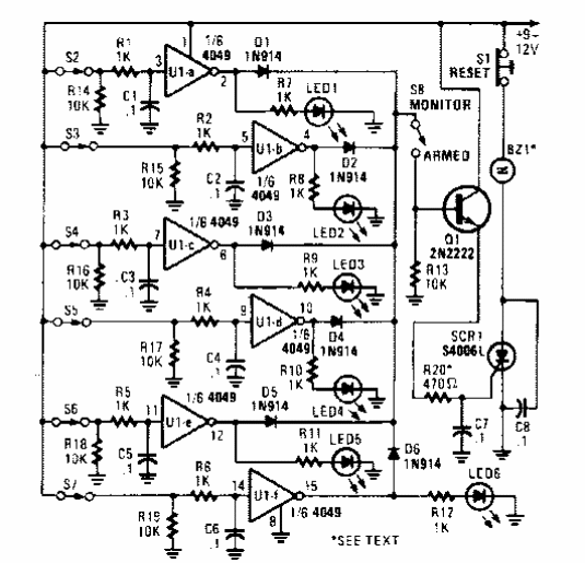
Encontramos este circuito en una Popular Electronics de los años 80. El circuito se puede usar para manejar cargas conectadas más grandes en lugar del zumbador BZ1. La alimentación depende de la carga.
