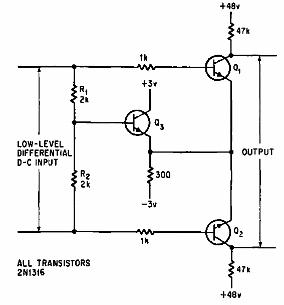
Este circuito se encontró en una documentación de la década de 1960, que proporciona una salida amplificada de ganancia de 2,000.

Amplificador de ganancia 2 000 estabilizado
Este circuito se encontró en una documentación de la década de 1960, que proporciona una salida amplificada de ganancia de 2,000.
