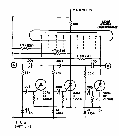
Encontrado en una documentación de General Electric de 1967, este contador utiliza tubos Nixie, populares en un momento en que las pantallas LED y de cristal líquido aún no existían.

Contador Nixie
Encontrado en una documentación de General Electric de 1967, este contador utiliza tubos Nixie, populares en un momento en que las pantallas LED y de cristal líquido aún no existían.
