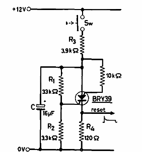
Este circuito es de documentación holandesa de 1967. El circuito funciona con un componente de la época, el BRY39, que es poco común hoy en día.

Generador de pulsos de reset
Este circuito es de documentación holandesa de 1967. El circuito funciona con un componente de la época, el BRY39, que es poco común hoy en día.
