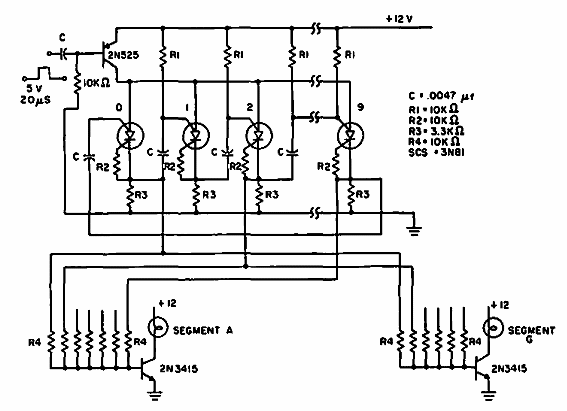
Este circuito se obtuvo de una documentación de General Electric de 1966. Puede servir como base para demostraciones de cómo decodificar segmentos de um display utilizando componentes discretos.

Decodificador de segmento
Este circuito se obtuvo de una documentación de General Electric de 1966. Puede servir como base para demostraciones de cómo decodificar segmentos de um display utilizando componentes discretos.
