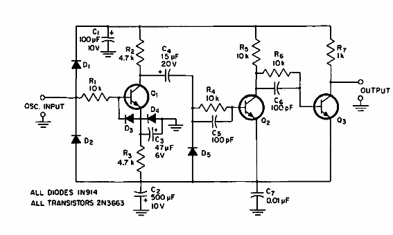
La característica principal de este circuito que se encuentra en una antigua publicación estadounidense es que está alimentado por la misma señal que convierte. Los transistores son de la época y se pueden reemplazar por los tipos actuales.

Conversor sinusoidal a cuadrado



