Este circuito proporciona una tensión de 110 V desde la batería del automóvil con una salida de 110 V x 100 W. No se indican los datos del transformador. La frecuencia de funcionamiento es de 3.5 kHz.

Inversor de 13 a 110 V
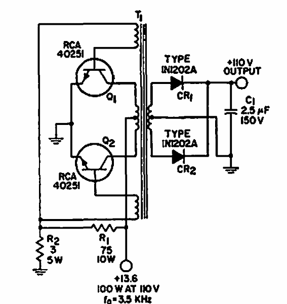
Este circuito proporciona una tensión de 110 V desde la batería del automóvil con una salida de 110 V x 100 W. No se indican los datos del transformador. La frecuencia de funcionamiento es de 3.5 kHz.
