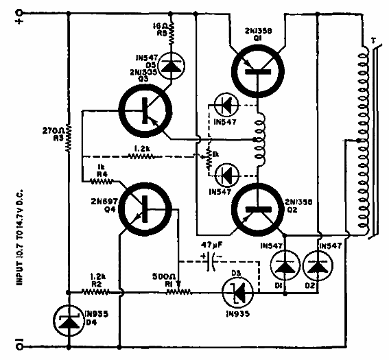
Este es el nombre dado al inversor de tensión de una Electronics World de 1969. Es un circuito convertidor en serie que también proporciona regulación de tensión. Proporciona una salida de 115 V con una potencia de 25 W de una batería de 12 V. No se proporciona información sobre el transformador.

Regverter



