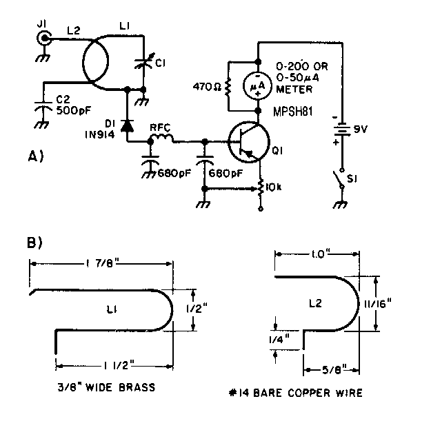
Para las bandas de 400 a 500 MHz, este circuito que se encuentra en la documentación de los 80 utiliza una configuración de montaje muy crítica.

Medidor de intensidad de campo para UHF
Para las bandas de 400 a 500 MHz, este circuito que se encuentra en la documentación de los 80 utiliza una configuración de montaje muy crítica.
