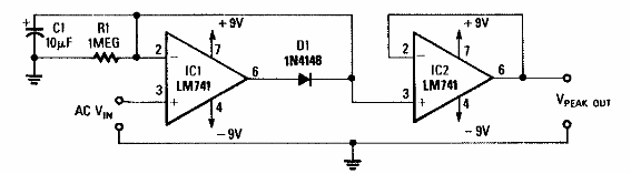
Indicado en una Radio Electrónica de los 80, este circuito proporciona en su salida una tensión que es el valor máximo de la tensión de entrada. La tensión de suministro debe ser más alta que el pico esperado.

Detector de pico
Indicado en una Radio Electrónica de los 80, este circuito proporciona en su salida una tensión que es el valor máximo de la tensión de entrada. La tensión de suministro debe ser más alta que el pico esperado.
