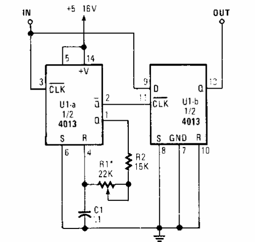
Este circuito se obtuvo de una Popular Electronics de los años 80. Se establece en un pulso determinado al detectar cuándo su duración es más corta de lo esperado. La frecuencia máxima es de unos megahertz.

Detector de ciclo activo
Este circuito se obtuvo de una Popular Electronics de los años 80. Se establece en un pulso determinado al detectar cuándo su duración es más corta de lo esperado. La frecuencia máxima es de unos megahertz.
