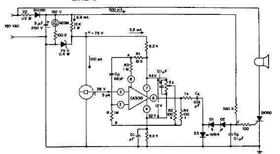
Operado directamente desde la red eléctrica, este detector se encontró en una documentación RCA de los 80. El sensor es una cámara de ionización. El SCR activa una sirena de advertencia.

Detector de humo
Operado directamente desde la red eléctrica, este detector se encontró en una documentación RCA de los 80. El sensor es una cámara de ionización. El SCR activa una sirena de advertencia.
