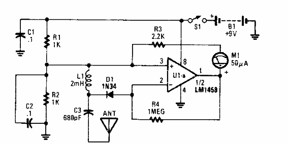
Este circuito se encontró en una Popular Electronics de la década de 1980. El microamperímetro puede ser el rango de corriente más bajo de un multímetro. La antena es telescópica.

Detector de campo RF
Este circuito se encontró en una Popular Electronics de la década de 1980. El microamperímetro puede ser el rango de corriente más bajo de un multímetro. La antena es telescópica.
