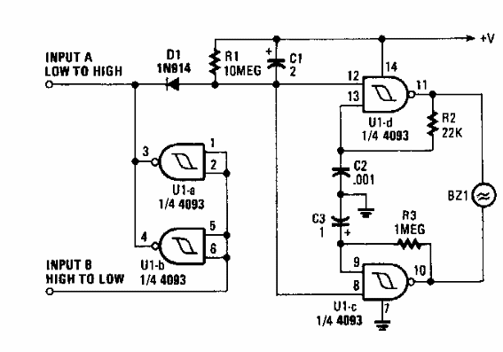
Este circuito se encontró en una electrónica popular de los años 80. Emite una señal de advertencia con la señal de la impresora de tipo antiguo con puerto paralelo.

Alarma de error de impresora
Este circuito se encontró en una electrónica popular de los años 80. Emite una señal de advertencia con la señal de la impresora de tipo antiguo con puerto paralelo.
