Encontramos este circuito en una Popular Elecrronics de los años 90. El circuito también se puede usar como alarma de cinturón de seguridad. Los componentes utilizados son comunes.
Este es de una EDN de los 80. Los transistores pueden ser de propósito general. La frecuencia está...
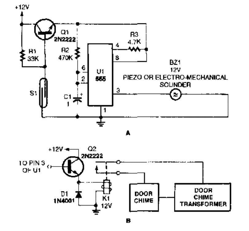
Esta interfaz o shield fue encontrada en una revista Modern Electronics de 1990. Aunque el...
Este circuito utiliza componentes que aún son comunes, a pesar de ser de una documentación de 1995. El...