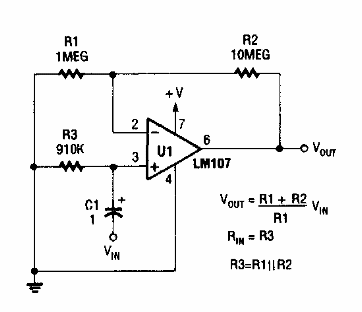
Este amplificador de CA no inversor se encontró en una Popular Electronics. La configuración se aplica a cualquier amplificador operacional.

Amplificador no inversor
Este amplificador de CA no inversor se encontró en una Popular Electronics. La configuración se aplica a cualquier amplificador operacional.
