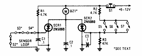
Este circuito sensor serie y paralelo se encontró en una electrónica popular de la década de 1990. Se puede usar cualquier SCR y la tensión de alimentación depende de la carga.

Alarma serie y paralelo
Este circuito sensor serie y paralelo se encontró en una electrónica popular de la década de 1990. Se puede usar cualquier SCR y la tensión de alimentación depende de la carga.
