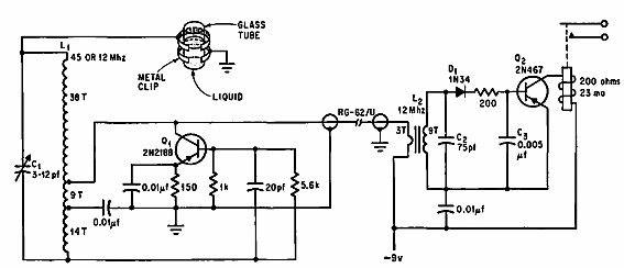
Este sensor utiliza un sistema capacitivo que oscila a 45 MHz con el tubo de vidrio vacío. Su frecuencia cae a 12 MHz cuando está llena, lo que hace que el relé se dispare. El circuito es de una publicación estadounidense de 1967.

Sensor de líquido
Este sensor utiliza un sistema capacitivo que oscila a 45 MHz con el tubo de vidrio vacío. Su frecuencia cae a 12 MHz cuando está llena, lo que hace que el relé se dispare. El circuito es de una publicación estadounidense de 1967.
