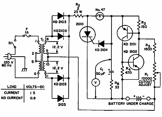
Este circuito se encontró en un manual RCA de 1967. Los transistores son de la época. El ajuste se realiza para leer 7,15 V en la batería cargada y la corriente de carga es de 3,2 A.

Cargador para baterías de 6V
Este circuito se encontró en un manual RCA de 1967. Los transistores son de la época. El ajuste se realiza para leer 7,15 V en la batería cargada y la corriente de carga es de 3,2 A.
