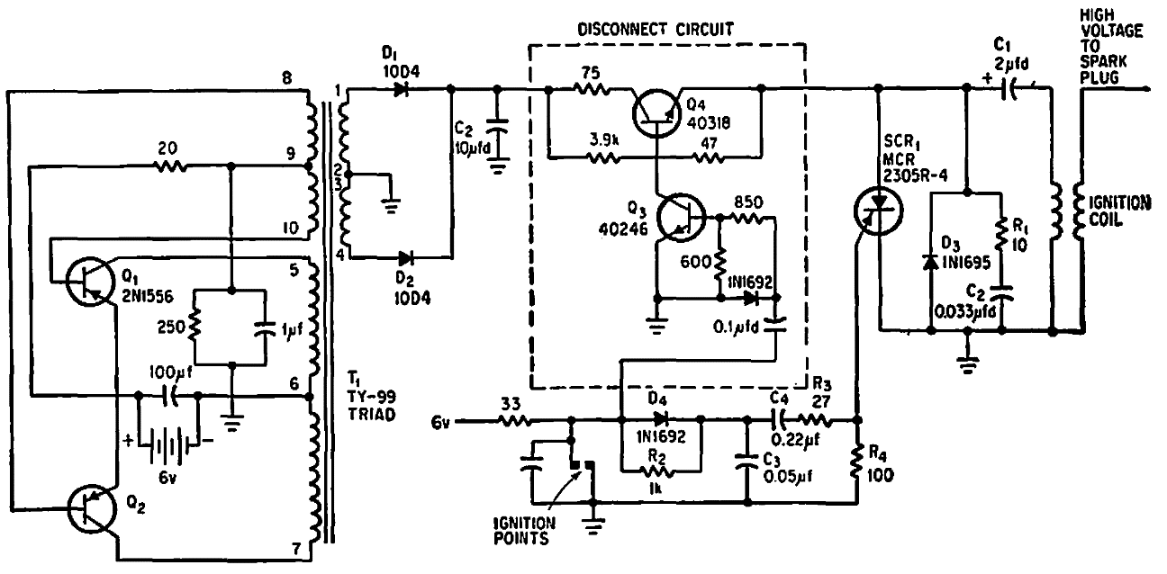
No se proporciona información sobre el transformador en este circuito como se encuentra en una documentación estadounidense 1967. Los transistores de potencia son de la época y están montados en un módulo enchufable.

 

 

Encendido electrónico
Encendido electrónico | Haga click en la imagen para ampliar |