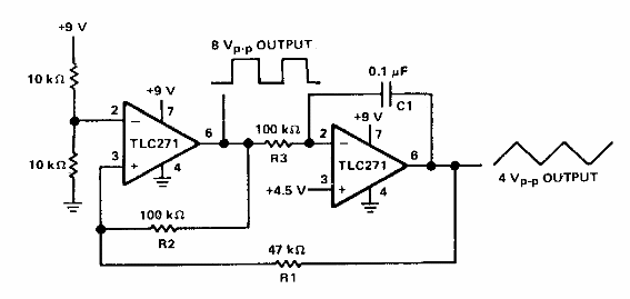
Encontramos este circuito en una documentación de Texas Instruments de los años 80. El circuito usa una fuente simple y la frecuencia depende básicamente de C1 y R1.

Generador de funciones de fuente única
Encontramos este circuito en una documentación de Texas Instruments de los años 80. El circuito usa una fuente simple y la frecuencia depende básicamente de C1 y R1.
