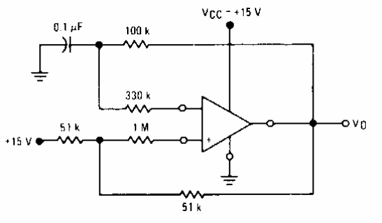
Este circuito fue sugerido por Motorola en la documentación de la década de 1980. El circuito emplea un operacional del tiempo y su frecuencia depende del capacitor.

Astable MC3301
Este circuito fue sugerido por Motorola en la documentación de la década de 1980. El circuito emplea un operacional del tiempo y su frecuencia depende del capacitor.
