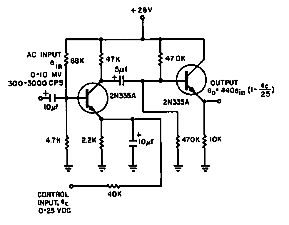
Este circuito se encontró en un diseño electrónico de 1964. El circuito se puede implementar con transistores modernos equivalentes. Tenga en cuenta la alta tensión de alimentación.

 

Control remoto de ganancia de intercomunicador
Control remoto de ganancia de intercomunicador | Haga click en la imagen para ampliar |