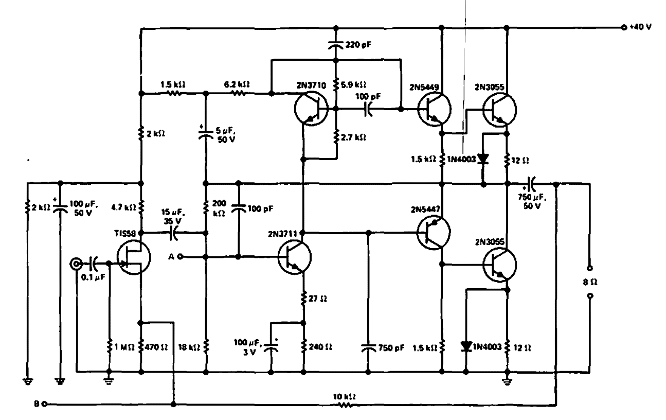
Texas Instruments sugirió este circuito en una publicación de 1968. Los transistores son de la época y se pueden usar equivalentes modernos.
El Ronquido de 60 Hz (o 50 Hz) o ruido de la red de energía (hum, en inglés) es uno de los mayores...
¿Cómo saber si un transmisor está funcionando? Sólo tiene que acercarse a este circuito de su...
Antes, del advenimiento del transistor se podía hacer una radio con amplificación para la señal...