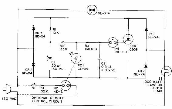
Este intermitente de alta potencia para señalización incandescente se encontró en una documentación de General Electric de la década de 1980. El circuito tiene un control fotoeléctrico y está alimentado por la red de 110V.

Flasher de 2 kW
Este intermitente de alta potencia para señalización incandescente se encontró en una documentación de General Electric de la década de 1980. El circuito tiene un control fotoeléctrico y está alimentado por la red de 110V.
